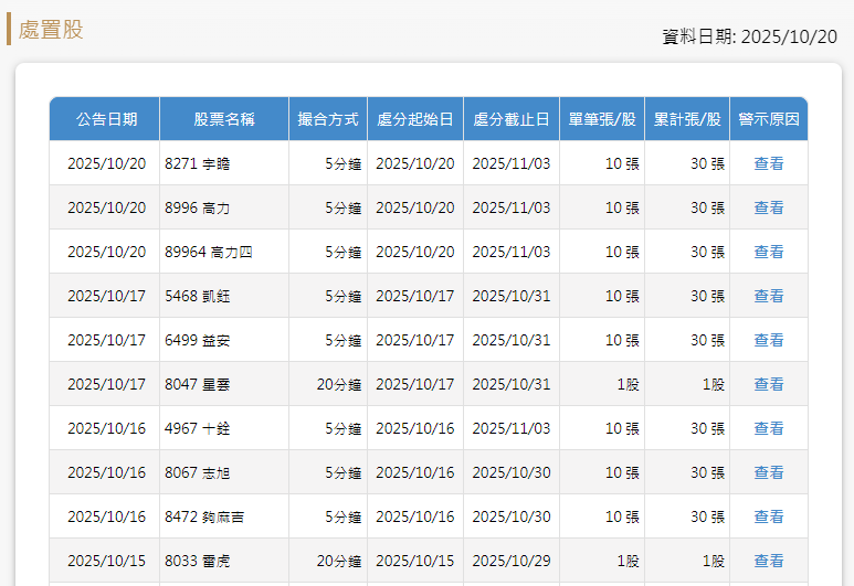
發布日期: 2025年10月20日
處置股,這個名詞常常出現在熱門股票的討論區。許多投資人一聽到“處置”,就以為是壞消息。其實,處置並非全然負面,只要理解規則與節奏,反而能從中發現短線與長線的投資機會。

處置股是指因交易行為異常、股價波動過大或成交量異常,且被證券交易所列入特別交易管理的股票。在處置期間,這類股票的交易規則會被暫時改變,以防止股價過熱或異常波動,同時維持市場交易秩序。
1.兩個階段
①第一次處置(警示股)
適用於初期交易異常
撮合時間約每5 分鐘一次
②第二處置
當異常持續且劇烈
撮合時間延長至每20 分鐘
買賣需全額交屋(預收全股款)
禁止融資融券和當衝
2.交易制度上的變化
必須預收股款(圈存交易)
撮合時間延長,無法逐筆成交
禁止信用交易與當衝
簡單來說,處置股是一種“過熱降溫機制”,目的在於避免過度投機,保護投資者和市場秩序。
⚠️注意:被列為處置不等於公司經營出問題,很多情況下只是股價過熱或交易活躍,是市場機制的防護措施。

1.第一次處置措施(約15個交易日)
①人工管制撮合
約每5分鐘或每20分鐘一次撮合
控制交易頻率,緩和股價波動
②圈存資金或股票
對大額委託買賣,收取全部或部分買進資金/賣出股票
③限制申報金額
限制證券商申報買賣該股金額
④增繳交割結算基金
針對交易異常要求增繳結算基金
⑤暫停融資融券交易
信用交易暫停,降低槓桿風險
⑥主管機關核准暫停買賣
視情況停止買賣一定期間
小貼士:第一次處置允許少量交易,大單需圈存,成交可能延遲。
(二)第二次處置措施(附加措施)
若首次處置後股價仍劇烈波動,30日內再觸發異常條件,則進入第二次處置:
①撮合時間延長
約每20分鐘一次撮合
②全額交割
當日委託買賣(無論數量多少)需收取全部股款或股票
小撇步:第二次處置下,即便買賣1單位股票,也需準備全額資金,散戶交易難度高,主力資金控盤容易。
1. 短期波動大
由於交易受到限制,且市場情緒易受處置消息影響,股價在短期內常出現大幅波動。
投資提示:面對短期下跌,不要盲目恐慌,應理性分析股價波動的原因。
2. 長期潛力高
處置往往涉及公司業務重組或資產優化。如果公司透過處置不良資產或專注核心業務,長期價值可能會被釋放。
舉例:某公司出售非核心子公司後,專注核心業務運營,股價長期表現優於產業平均。
3. 資訊不對稱
交易規則特殊,市場關注度高,但資訊複雜。投資人需要深入分析財報、公告等數據,才能判斷投資價值。
投資提示:具備研究能力的投資人可能會藉此獲取超額收益。
4. 被處置≠ 公司經營出問題
該股被列為處置股,常因股價過熱、成交量異常活躍,並非公司經營不善。
投資提示:投資人應專注於真實交易原因和公司基本面,而非單憑處置標籤判斷。
在成為處置股之前,個股通常會先被列為「注意股」。證券交易所對注意股的判定有一系列標準,主要從股價漲跌幅、成交量、週轉率、市盈率等方面進行考量。當個股多次觸發注意股條件且熱度不減,就可能被列入處置名單,實施交易限制。
1.注意股判定條件
①連續6日漲跌幅超過32%
若股價在6個營業日累計漲幅超過32%,且高於同類股平均20%,即被列為注意股。
②收盤價差異大
若連續6日收盤價落差超過50元,且漲跌幅超25%。
③週轉率過高
單日週轉率超過10%,且6 日累計漲跌幅超過25%。
④成交量暴增
近6日平均成交量超過前60 天的5 倍。
⑤市盈率異常
市盈率為負值或高於60倍。
2.從注意股到處置股
當個股多次觸發注意股條件,且交易熱度持續,交易所會將其列入處置名單,並實施交易限制,如:
人工管制撮合:約每20 分鐘撮合一次
預收股款:買賣時需收取全部資金或保證金
信用交易限制:融資融券需收足自備款或保證金
⚠️ 被列為處置並不等於公司經營出現問題,通常是交易活躍或股價異常波動造成的市場監管措施。
舉例說明:例如雷虎(8033),其10月15日被處置的原因為:連續五個營業日達注意交易標準,且近期30個營業日內曾發布處置交易資訊。具體數據如下:
| 日期 | 市盈率 | 股價淨值比 | 當日週轉率 | 特殊情況描述 |
| 2025/10/14 | 197.1 | 11.2 | 10.70% | P/B為該類股四倍以上,6日累積週轉率57% |
| 2025/10/13 | 214.49 | 12.19 | 16.36% | 股價淨值比高 |
| 2025/10/9 | 204.35 | 11.61 | 7.55% | 股價淨值比高 |
| 2025/10/8 | 203.62 | 11.57 | 9.42% | 單投資人當日賣出金額佔比超10%, P/B高 |
| 2025/10/7 | 220.29 | 12.52 | 10.94% | 股價淨值比高 |
雷虎處置時間:2025/10/15 ~ 2025/10/29(10 個營業日,遇假日順延)
處置措施:
人工管制撮合,約每20分鐘撮合一次
買賣需預收全部股款
信用交易收足融資自備或融券保證金
一般處置期為10個交易日,若期間未再觸發異常條件,則可恢復正常交易。解除條件主要包括:
1.交易恢復正常
股價波動回歸正常水平
不再出現異常漲跌
2.成交量及波動率下降
成交量和波動率與市場平均接近
市場投機情緒已緩解
3.公司基本面穩定
處置期間公司無重大不利消息或財務問題
解除後,撮合機制恢復為一般逐筆交易,投資人可依正常規則進行買賣操作。
✅ 可以!但交易過程更繁瑣,需要遵守特別規則。
其買賣與一般股票不同,主要限制有:
買進須預收股款
賣出需提前圈存股票
禁止融資、融券、當衝
這些交易限制增加了操作難度和成本,但並不影響投資者參與交易。
1.處置股怎麼買進?
①圈存資金
投資者需將買股所需金額存入券商「預收款專戶」
資金圈存是交易處置類股票的前提條件
②下單買入
可透過營業員或線上下單方式進行
③未成交處理
當日收盤後,未成交資金會自動退回投資人帳戶
提醒:
圈存資金僅當日有效,每次交易需重新圈存
投資人需關注交易時間,確保交易完成
2.處置股怎麼賣出?
①圈存股票
投資人需告知券商賣出股數,由券商完成圈存
②完成圈存後賣出
圈存完成後才能進行賣出交易
③未成交處理
若賣出未成交,未成交股票隔天自動解除圈存
投資者可重新進行交易操作
3.交易注意事項
嚴守圈存和撮合時間規則
合理安排交易時間,確保交易順利
考慮市場風險和自身風險承受能力
股票被列入處置後,其交易方式、撮合時間與交易限制都會與一般股票不同。投資者若不了解相關規定,容易因交易限製而被「卡單」或錯失時機。以下為完整說明:
1.處置股禁止當衝與信用交易
處置類股票無法當衝、也不能使用信用交易,是與一般股票最大的差別。
①禁止當衝:
投資者不能在同一交易日內買進又賣出。
目的:抑制短線炒作與異常波動。
②禁止信用交易:
無法融資買股或融券賣出。
目的:降低市場槓桿、控制風險。
重點提示:若投資人的交易策略以短線或當衝為主,應避免處置類股票,以免流動性受限、難以出場。
2.圈存交易(預收股款制度)
投資者在買入處置類股票前,必須將全額股款存入券商指定帳戶,資金圈存後才能下單,未成交部分將在收盤後退回。
舉例說明:投資人想買進處置股A10張,那麼:
| 情況描述 | 購買數量 | 處置要求 |
| 單筆購買超過9 張 | 10 張 | 必須提前圈存全部股款 |
| 單筆購買9 張以下且每日累計不超過29 張 | 9 張 | 可正常交易,無須圈存 |
2.交易撮合時間延長(分階段處置機制)
處置交易分階段進行,撮合時間與圈存規則會依異常程度逐步加強:
①第一次處置(5 分鐘碟)
撮合機制:每約5分鐘撮合一次
大筆委託:當日單筆≥10 單位或多筆累積≥30 單位時,需圈存資金或股票
小額交易:單筆<10 單位、當日累積<30 單位,可正常交易
② 第二次處置(20 分鐘盤)
撮合機制:每約20分鐘撮合一次
全額圈存:無論買賣數量多少,投資人都需提前圈存資金或股票
影響:成交量急劇下降,散戶操作難度高,主力資金更易控盤
小提示:
第一次處置階段允許少量交易,但大單需圈存
第二次處置階段全程需圈存,散戶交易難度高,主力資金相對容易控盤
3.禁止信用交易與當衝
處置類股票交易中,投資人常用的信用交易與當衝策略被明確禁止:
①禁止信用交易
無法融資買股或融券賣股
降低市場槓桿,抑制投機行為
②禁止當衝
投資者無法在當日進行多次買賣
降低市場活躍度,避免短線炒作
總之,處置股交易規則的設計目的是:
控制股價異常波動
抑制短期投機行為
維護市場交易秩序
投資者在交易處置類股票時,應事先了解圈存需求、撮合時間及交易限制,合理安排操作,以避免風險。
股票被列為處置類股後,市場表現會有所不同:短期容易下跌,但如果基本面強勁,中長期可能反而成為「洗盤」機會。關鍵在於產業趨勢與市場信心。
1.剛進入處置期:股價短線承壓
剛被處置時,常會出現以下特點:
流動性下降:交易撮合時間延長、資金圈存等限制,使得股票交易活躍度大幅下降。
股價短期下跌:投資人因交易不便或心理恐慌選擇賣出,導致股價下跌。
市場信心受挫:被列為處置股的消息容易引發負面情緒,進一步打擊股
舉例說明:例如10月15日雷虎(8033)第二次進入處置名單,其交易情形如下:
| 日期 | 事件描述 | 交易量(K) | 最高價(元) |
| 2025/10/14 | 雷虎正常交易 | 14.8 | 146 |
| 2025/10/15 | 雷虎第二次進入處置名單 | 1.3 | 135 |
→ 可見短期股價明顯承壓
2.解除處置後:股價反彈可期
處置期結束後,如果公司基本面良好,市場信心恢復,股價可能迎來反彈:
基本面強勁者反彈:投資人信心回升,交易活躍度增加,股價有上漲空間。
再次進入處置期風險:如果股票解除處置後仍出現異常波動,被重新列入處置名單(如進入20分盤),股價可能再次下跌。
舉例說明:例如國精化(4722)10月7日第二次處置,具體情況如下:
| 日期 | 事件描述 | 股價變動狀況 |
| 2025/10/7 | 國精化第二次處置 | 當天股價下跌 |
| 2025/10/09 | 處置後第三天 | 股價上升至216.5 |
| 2025/10/20 | 後續股價盤整 | 整體趨勢仍上漲 |
→ 雖短期股價承壓,但後續會有大幅的上漲
3.投資提示
處置交易受限,股價易下跌
中長期:基本面良好者可能成為佈局機會
觀察重點:產業趨勢+ 市場信心
總結:
處置股短線承壓,但若公司基本面穩健,解除處置後仍有上漲潛力。投資人可結合市場信心與產業趨勢,判斷處置類股票的投資價值。
1.台灣證券交易所(TWSE)官網
可查看最新註意股與處置股公告
官方資訊權威可靠
2.櫃買中心(OTC)官網
針對上櫃股票,可查詢相關公告
公告時間:通常每日下午6:30 後更新。
小貼士:投資人應養成定期查看公告的習慣,及時了解市場動態,做出合理決策。
1.短線投資者
特色:處置類股票交易受限,無法當衝,交易機會大幅減少
策略:盡量迴避,避免被“卡在分盤中”
原因:
撮合時間延長、交易限制增加
快速買賣獲利機會有限
強行操作可能導致資金被套
2.中長期投資者
特點:處置可能只是“短期降溫”,若基本面穩健,反而提供佈局機會
策略:趁市場情緒低迷分批買入
判斷方法:
分析公司基本面、獲利能力和估值水平
若公司有良好發展前景,處置期間佈局可能獲得長期收益
3.投資策略建議
①關注公告與財報
分析公司的經營狀況與業務發展規劃
判斷處置是否為技術性調整
②控制部位、分批進出
避免一次性投入過多資金
分批買進、分階段賣出,降低流動性風險
③不盲目追高熱門股
熱門股短期波動大,處置股尤其風險高
冷靜分析風險與效益,避免跟風操作
處置股就像是市場的「冷靜期」。
當投機資金退潮,真正的基本面價值才會顯現。
對理性的投資人來說,理解制度、掌握節奏、耐心等待出關後的行情,反而可能是低吸佈局的良機。
【EBC平台風險提示及免責條款】:本資料僅供一般參考使用,無意作為(也不應被視為)值得信賴的財務、投資或其他建議。